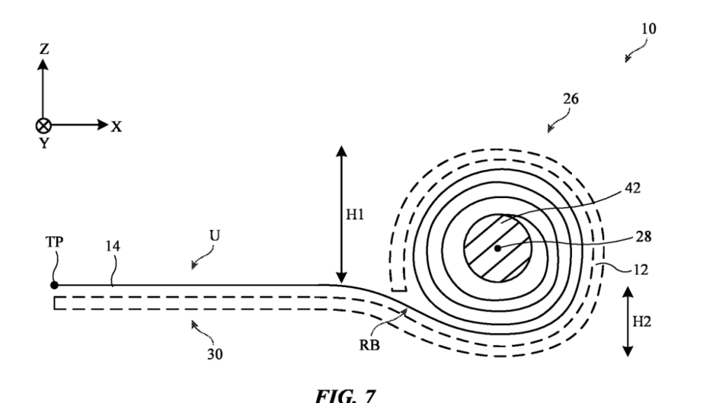
For those eagerly anticipating a foldable iPhone, Apple might have a different surprise in store – a rollable iPhone. The tech giant has recently been granted a patent for a smartphone featuring a rollable display, according to Patently Apple. The patent, filed in November 2022 and published recently, describes an electronic device with a display that can transition between an unrolled, planar state and a rolled state for storage.
To ensure the functionality of this innovative display, the patent suggests using a “locally thinned” glass layer in the rollable portion. Additionally, the display is configured to handle the compressive stress on the outwardly facing glass surface, protecting it from damage when the display is bent during the rolling process.
Building a rollable iPhone

Although the patent broadly refers to electronic devices with displays, it specifically mentions portable devices like smartphones, raising excitement among Apple enthusiasts about the prospect of a rollable iPhone. Rollable displays have been demonstrated as viable technology, with LG leading the way through their rollable OLED TV and a rollable phone prototype that came close to launch but was eventually shelved. Other companies like Motorola and Oppo have also showcased rollable phone concepts, but none have made their way to widespread consumer availability.

As for Apple, the company tends to be cautious when integrating new technologies into its mainstream products. While the patent suggests Apple is exploring rollable display possibilities, it doesn’t guarantee an immediate launch of a rollable iPhone or iPad. Apple’s approach to introducing cutting-edge features is methodical, and they may take their time to ensure the technology meets their high standards before introducing it to the market.
The patent, however, offers a glimmer of hope to those dreaming of a more flexible and adaptable iPhone in the future. As technology advances and companies explore innovative design concepts, the possibility of a rollable iPhone becoming a reality in the years to come remains an exciting prospect. While we may need to exercise patience, Apple’s ongoing exploration of this technology underscores the company’s commitment to pushing the boundaries of innovation in the smartphone industry.




